

一.概述
继TD型、TH型斗式提升机在各行业得到广泛应用之后,我厂根据国内广大市场的需求,在保持TD型、TH型提升机原先的各项优点和优良性能的基础上,引进开发生产出了新一代CTD 型、CTH型高效斗式提升机。该机型是一个产品经济性,使用检修可靠性于一体的新产品,已经投入市场,并达到用户好评,欢迎大家比较选用。
二.特点与用途
1 ,GTD 与GTH型斗式提升机具有输送量大,提升高度高,运行平稳,使用寿命长等特点,具体规格的输送能力见表5-1至表5-4,GTD和GTH型斗式提升机适用较干的散状物料垂直输送,可广泛地应用于建材、化工,煤炭,电力,港口运输等行业的物料运输系统。
2,CTD型为胶带式,以EP输送带和钢丝绳芯胶带为牵引件。GTH 型为环链式,以高强度环链为牵引件,该链条按GB/T12718 -91《矿用高强度圆环链》制造。本设备有两种料斗。bd 和 bh型,这是一种深型斗,一般适用于输送干燥、松散﹑易于抛出、流动性好的物料,如水泥、煤块.碎石、粮食等物料。ad和 ah型是一种比深斗浅的斗,它适用于流动性差一些,稍有湿的物料,如砂、煤、化工原料等。
3 .本机的头尾部及中部机壳作了密封处理,物料及粉尘极少外溢,极少造成环境污染。
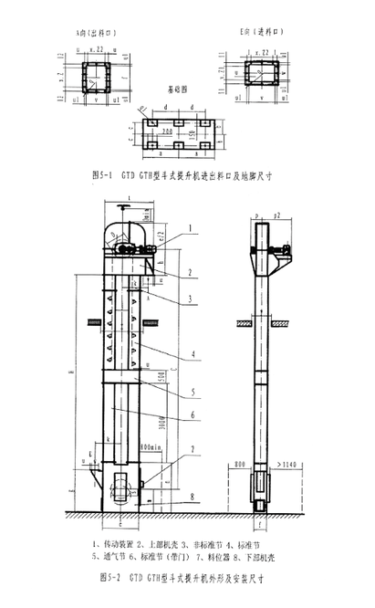
4、本机为混合或重力卸料,掏取式喂料。
5 ,GTH型上轮为组装式链轮,轮缘用高强度钢螺栓联在轮体上,在链轮磨损后,只需要换轮缘,维修方便,节省原材料,降低维修费用。下轮改为凸缘轮,彻底改变了原双链轮成本高,易脱链的缺陷。
6, GTD型上轮采用斜边光轮,该轮具有自定心的作用,可避免输送带跑偏。
7,本机型在下部设有料位器和速度控制器,用户可根据需要造取,以达到自动控制的目的。
8 .本机涨紧装置有两种,对于提升高度不大于25m高的机型,一般选用丝杠涨紧,对于提升高度大于25m 的机型,选用重力涨紧,特殊要求,用户订货时请说明。
三.输送能力

四.GTD、 GTH高效斗式提升机外形及安装尺寸


